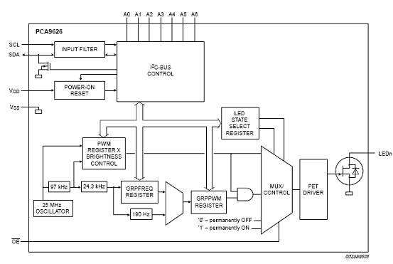
NXP 公司的PCA9626是I2C总线控制的24位LED驱动器,每个LED输出有它本身的8位分辨率的固定频率PWM控制器,工作频率97kHz,占空比从0%到99.6%可调整,使LED能设定到所需亮度. PCA9626工作电压从2.3V到5.5V,
100mA漏极开路输出使电压高达40V, 内部25MHz振荡器不需要外接元件.本文介绍了PCA9626的主要特性,方框图以及典型应用.
PCA9626
24-bit Fm+ I2C-bus 100 mA 40 V LED
driverThe PCA9626 is an I2C-bus controlled 24-bit LED
driver optimized for voltage switch dimming and blinking 100 mA Red/
Green/Blue/Amber (RGBA) LEDs. Each LED
output has its own 8-bit resolution (256 steps) fixed frequency individual PWM controller that operates at 97 kHz with a duty cycle that is adjustable from 0 % to 99.6 % to allow the LED to be set to a specific brightness
value. An additional 8-bit resolution (256 steps) group PWM controller has both a fixed frequency of 190 Hz and an adjustable frequency between 24 Hz to once every 10.73 seconds with a duty cycle that is adjustable from 0 % to 99.6 % that is used to either dim or blink all LEDs with the
same value.
Each LED
output can be off, on (no PWM control), set at its individual PWM controller
value or at both individual and group PWM controller values. The PCA9626 operates with a supply voltage range of 2.3 V to 5.5 V and the 100 mA open-drain
outputs allow voltages up to 40 V.
The PCA9626 is one of the first LED controller devices in a new Fast-mode Plus (Fm+) family. Fm+ devices offer higher frequency (up to 1 MHz) and more densely populated bus operation (up to 4000 pF).
The active LOW Output Enable input pin (OE) blinks all the LED outputs and can be used to externally PWM the outputs, which is useful when multiple devices need to be dimmed or blinked together without using software control.
Software programmable LED Group and three Sub Call I2C-bus addresses allow all or defined groups of PCA9626 devices to respond to a common I2C-bus address, allowing for example, all red LEDs to be turned on or off at the
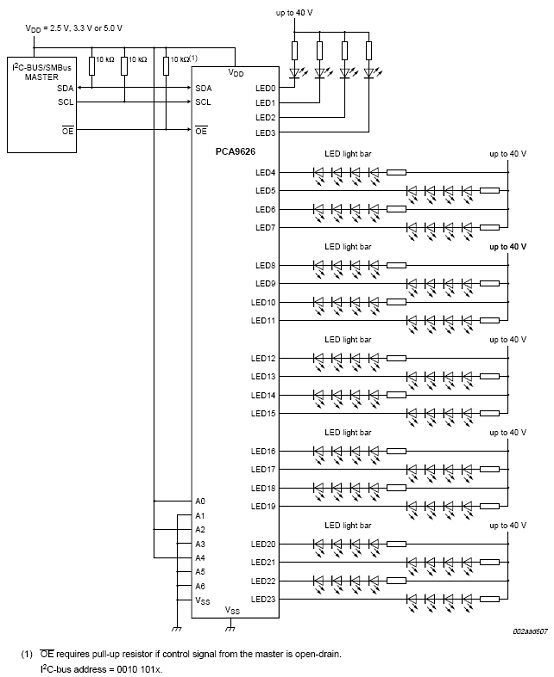
same time or marquee chasing effect, thus minimizing I2C-bus commands. Seven hardware address pins allow up to 126 devices on the
same bus.
The Software Reset (SWRST) Call allows the master to perform a reset of the PCA9626 through the I2C-bus, identical to the Power-On Reset (POR) that initializes the registers to their default state causing the output NAND FETs to be OFF (LED off). This allows an easy and quick way to reconfigure all device registers to the same condition.
In addition to these features found in PCA9633, PCA9634, PCA9635, PCA9622 and PCA9624, a new feature to control LED output pattern is incorporated in the PCA9626. A new control byte called ‘Chase Byte’allows enabling or disabling of selective LED outputs depending on the value of the Chase Byte. This feature greatly reduces the number of bytes to be sent to the PCA9626 when repetitive patterns need to be displayed as in creating a marquee chasing effect.
If the PCA9626 on-chip 100 mA NAND FETs do not provide enough current or voltage to drive the LEDs, then the PCA9635 and the PCA9635 with larger current or higher voltage external
drivers can be used.
PCA9626主要特性:
24 LED drivers. Each output programmable at:
Off
On
Programmable LED brightness
Programmable group dimming/blinking mixed with individual LED brightness
1 MHz Fast-mode Plus compatible I2C-bus interface with 30 mA high drive capability on SDA output for driving high capacitive buses
256-step (8-bit) linear programmable brightness per LED output varying from fully off(default) to maximum brightness using a 97 kHz PWM signal
256-step group brightness control allows general dimming (using a 190 Hz PWM signal) from fully off to maximum brightness (default)
256-step group blinking with frequency programmable from 24 Hz to 10.73 s and duty cycle from 0 % to 99.6 %
24 open-drain outputs can sink between 0 mA to 100 mA and are tolerant to amaximum off state voltage of 40 V. No input function.
Output state change programmable on the Acknowledge or the STOP Command to update outputs byte-by-byte or all at the same time (default to ‘Change on STOP’).
Active LOW Output Enable (OE) input pin allows for hardware blinking and dimming of the LEDs
7 hardware address pins allow 126 PCA9626 devices to be connected to the same I2C-bus and to be individually programmed
4 software programmable I2C-bus addresses (one LED Group Call address and three LED Sub Call addresses) allow groups of devices to be addressed at the same time in any combination (for example, one register used for ‘All Call’ so that all the PCA9626s on the I2C-bus can be addressed at the same time and the second register used for three different addresses so that 3 of all devices on the bus can be addressed at the same time in a group). Software enable and disable for I2C-bus address.
A Chase Byte allows execution of predefined ON/OFF pattern for the 24 LED outputs
Software Reset feature (SWRST Call) allows the device to be reset through the I2C-bus
25 MHz internal oscillator requires no external components
Internal power-on reset
Noise filter on SDA/SCL inputs
No glitch on power-up
Supports hot insertion
Low standby current
Operating power supply voltage (VDD) range of 2.3 V to 5.5 V
5.5 V tolerant inputs on non-LED pins
40℃ to +85℃ operation
ESD protection exceeds 2000 V HBM per JESD22-A114, 200 V MM per JESD22-A115 and 1000 V CDM per JESD22-C101
Latch-up testing is done to JEDEC Standard JESD78 which exceeds 100 mA
Packages offered: LQFP48, HVQFN48

图1.PCA9626方框图

图2.PCA9626典型应用