On
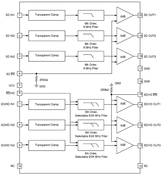
Semi 公司的NCS2566是重建滤波器和视频放大器,集成了两组3路驱动器,能同时处理SD视频信号和SD或HD应用的可选择滤波器:三路可选择6阶8/34 MHz Butterworth滤波器和三路固定6阶8 MHz Butterworth滤波器.5V电源工作,能和大多数嵌入在视频处理器中的DAC兼容. NCS2566广泛应用在STB,HDTV和DVD播放器与相关产品.本文介绍了NCS2566的主要特性,方框图以及典型应用电路图.
The NCS2566 integrates reconstruction filters and video amplifiers.
It’s a
combination of two 3-channel drivers-the first one capable to deal with
Standard Definition (SD) video signals and a second one including selectable filters for either
Standard or
High Definition (HD) video applications. The filters implemented are 6th order Butterworth Low Pass filters particularly effective for rejecting unwanted
high frequency components and assuring good linearity of the phase change over frequency with well optimized
group delays.
All channels can accept DC-or AC-coupled signals; when AC-coupled the internal clamps are employed. The outputs can drive both AC- and DC-coupled 150 _ loads.
It is designed to be compatible with most Digital-to-Analog Converters (DAC) embedded in video processors. To further reduce power consumption, two enable
pins are provided, one for each triple driver. One pin allows selection of the filter frequency of the SD/HD triple driver.
NCS2566主要特性:
3 Channel with Selectable 6th-Order 8/34 MHz Butterworth Filters
3 Channel with Fixed 6th-Order 8 MHz Butterworth Filters
Transparent Input Clamp for Each Channel
Integrated Level Shifter
AC-or DC-Coupled Inputs and Outputs
Low Quiescent Current
Shutdown Current 42 uA Typical (Disabled)
5 V Power Supply
Each Channel Capable to Drive 2 by 150 _ Load
Internal Gain: 6dB _0.2
Wide Input Common Mode Range
ESD Human Body Model (HBM) Jedec Protection at the Outputs > 4 kV
Operating Temperature Range: -40C to +85C
Available in a TSSOP-20 Package
These are Pb-Free Devices
NCS2566典型应用:
Set-Top Box
DVD players and related
HDTV

图1.NCS2566方框图

图2.NCS2566典型应用电路图